Home
JAQForum Ver 24.01
Log In or Join  
Active Topics
Local Time 08:06 25 Apr 2026 Privacy Policy
Jump to

Notice. New forum software under development. It's going to miss a few functions and look a bit ugly for a while, but I'm working on it full time now as the old forum was too unstable. Couple days, all good. If you notice any issues, please contact me.

Forum Index : Microcontroller and PC projects : CGCMM1 question

Author Message
muddy0409

Senior Member

Joined: 15/06/2011
Location: Australia
Posts: 125
Posted: 07:49am 17 May 2013
Copy link to clipboard 
Print this post

Hi all.
I just finally fired up my CMM for the first time this afternoon. The only display I could get on screen (VGA LCD monitor) was very dim and pretty much unreadable, (especially for an old bloke like me.) This led to the CMM being put away again for another day or perhaps 20.
Has anyone else had this happen and any idea what was going on?

Thanks, as always.


Don't poo poo conspiracy theories.
Remember that everything ever discovered started somewhere as a theory.
 
CircuitGizmos

Guru

Joined: 08/09/2011
Location: United States
Posts: 1427
Posted: 08:12am 17 May 2013
Copy link to clipboard 
Print this post

The only thing I can think of is a connection problem with the VGA connector. If you put vertical pressure on the connector with everything powered does the display brighten?
Micromites and Maximites! - Beginning Maximite
 
bigmik

Guru

Joined: 20/06/2011
Location: Australia
Posts: 2980
Posted: 01:18pm 17 May 2013
Copy link to clipboard 
Print this post

Hi Muddy,

That doesn't sound right... Are you able to beg, borrow or steal another monitor to see what happens..

Otherwise maybe your ground wire has fallen off.

Regards,

Mick

EDIT **

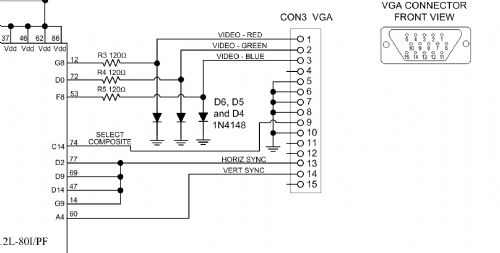
Here is the VGA part of the circuit diagram for an ORIGINAL CMM.




If the text is there but very dim then I suspect that either the 3 x 120R resistors might have been stuffed with too high a value..

Use the schematic and a multi meter to buzz out the circuit if you can.

Where abouts in Aus are you? If in Melbourne I am happy to test it out for you (or if you wish to post it to me) ...

Try another VGA monito first though, maybe the backlight on the monitor has decided to keel over.

Mick


EDIT 2 ****

TBS reduced the JPG pic too much and is hard to read for us old fellers...

Here it is as a PDF

Mick

2013-05-17_233442_VGA.pdf


Edited by bigmik 2013-05-18
Mick's uMite Stuff can be found >>> HERE (Kindly hosted by Dontronics) <<<
 
panky

Guru

Joined: 02/10/2012
Location: Australia
Posts: 1120
Posted: 01:34pm 17 May 2013
Copy link to clipboard 
Print this post

Hi Muddy,

I'm with Mick - if the actual display is correct, ie, you can make out characters on the display and it is stable then the CMM is very unlikely to be the problem.

I had an issue on a CMM1 where I had a missing earth link to the VGA connecter shell which caused very unstable display which was also very faint ( because of the unstability).

Cheers, Doug.

... almost all of the Maximites, the MicromMites, the MM Extremes, the ArmMites, the PicoMite and loving it!
 
muddy0409

Senior Member

Joined: 15/06/2011
Location: Australia
Posts: 125
Posted: 10:47pm 17 May 2013
Copy link to clipboard 
Print this post

I do have another monitor. Both working perfectly on my desktop PC.
I'll try out the second one when I get a chance in a cuppla days.

Mik, I'm in country NSW, cuppla hours above Dubbo.

Panky, the text is fine, its only the brightness, or lack of, that is the problem. The adjustment on the monitor brightens up but washes out the text.
Edited by muddy0409 2013-05-19
Don't poo poo conspiracy theories.
Remember that everything ever discovered started somewhere as a theory.
 
bigmik

Guru

Joined: 20/06/2011
Location: Australia
Posts: 2980
Posted: 03:50pm 18 May 2013
Copy link to clipboard 
Print this post

  muddy0409 said  

Mik, I'm in country NSW, cuppla hours above Dubbo.




Not exactly close... Sounds like you are somewhere near Tamworth.. We went through there about 7 years ago on our way to Coffs Harbour.. Dubbo Zoo is great...

Anyway, If you find that the other monitor is no better I am happy to test/look at your CMM if you are happy to pay postage and return postage.. or maybe someone is closer that might be able to help.

Regards,

Mick
Mick's uMite Stuff can be found >>> HERE (Kindly hosted by Dontronics) <<<
 
TassyJim

Guru

Joined: 07/08/2011
Location: Australia
Posts: 6509
Posted: 08:15pm 18 May 2013
Copy link to clipboard 
Print this post

Passing through Coonabaraban tomorrow.
Arrive Monday PM and staying one night at the caravan park. I don't have a lot of test gear with me though.....

Jim

VK7JH
MMedit
 
muddy0409

Senior Member

Joined: 15/06/2011
Location: Australia
Posts: 125
Posted: 12:28am 19 May 2013
Copy link to clipboard 
Print this post

Hi Tassy.
Which way are you heading?
There's a spare bed here if you would like to crash.
I'm batching ATM while the missus is away working.
We are halfway between Gilgandra and Coonamble. At Gulargambone, just on the other side of Warrambungles.
A little out of your way, but welcome if you like.
Edited by muddy0409 2013-05-20
Don't poo poo conspiracy theories.
Remember that everything ever discovered started somewhere as a theory.
 
panky

Guru

Joined: 02/10/2012
Location: Australia
Posts: 1120
Posted: 01:47am 19 May 2013
Copy link to clipboard 
Print this post

Hi Muddy,

One other area you might look at - the original CMM had a pretty frail VGA connector which could easily be bent up and in my case, due in large part to my own clumsiness, I broke off a number of the tracks between the connector and the motherboard.

Using Mick's circuit, try to buzz out the connection between the tracks on the motherboard and the actual pins in the VGA connector.

Cheers,
Doug.

... almost all of the Maximites, the MicromMites, the MM Extremes, the ArmMites, the PicoMite and loving it!
 
TassyJim

Guru

Joined: 07/08/2011
Location: Australia
Posts: 6509
Posted: 12:22pm 19 May 2013
Copy link to clipboard 
Print this post

  muddy0409 said   Hi Tassy.
Which way are you heading?


No time to deviate this trip.
Leaving Dubbo this morning and the one night at Coonabarabran before heading to Armidale (Brrrrrr)

Jim
VK7JH
MMedit
 
BobD

Guru

Joined: 07/12/2011
Location: Australia
Posts: 935
Posted: 12:32pm 19 May 2013
Copy link to clipboard 
Print this post

Brrrr is right. Coonabarabran is OK http://www.weatherzone.com.au/nsw/cw-slopes-and-plains/coona barabran but Armidale is punishment http://www.weatherzone.com.au/nsw/northern-tablelands/armida le


 
muddy0409

Senior Member

Joined: 15/06/2011
Location: Australia
Posts: 125
Posted: 01:09pm 19 May 2013
Copy link to clipboard 
Print this post

Jim,
I shoulda hung around in Dubbo yesterday after dropping the missus at the airport.

Don't poo poo conspiracy theories.
Remember that everything ever discovered started somewhere as a theory.
 
Print this page


To reply to this topic, you need to log in.

The Back Shed's forum code is written, and hosted, in Australia.
© JAQ Software 2026