Home
JAQForum Ver 24.01
Log In or Join  
Active Topics
Local Time 21:22 24 Apr 2026 Privacy Policy
Jump to

Notice. New forum software under development. It's going to miss a few functions and look a bit ugly for a while, but I'm working on it full time now as the old forum was too unstable. Couple days, all good. If you notice any issues, please contact me.

Forum Index : Windmills : Overdrive VAWT old News

Author Message
Greenbelt

Guru

Joined: 11/01/2009
Location: United States
Posts: 566
Posted: 07:15am 04 Feb 2010
Copy link to clipboard 
Print this post

My post,"HIGH SPEED VAWT is old news, over 30 years old I discovered this evening while trying to locate info on the MILLER Rotor, and though I believed it was a new slant on finding speed for the VAWT, alas! Egg on my face. If interested. scroll down this long page a little over 3/4 you will find a couple paragraphs. I gotta do better???.

VAWT With Rim Mounted PM's.
Time has proven that I am blind to the Obvious, some of the above may be True?
 
oztules

Guru

Joined: 26/07/2007
Location: Australia
Posts: 1686
Posted: 11:53pm 04 Feb 2010
Copy link to clipboard 
Print this post

Yes,
I thin unless your investigating particle physics or similar..... it's all been done before.

I thought I had invented the AXFX style about 12 years ago, but found that it was done over a hundred years ago. (forgotten after that because of the power of magnets at that time to make useful flux over a big airgap.... but yes done before I was born.

There is a whole raft of things that I thought I had the jump on ... but all were old news. (yes I had considered how to use the periphery speed on Vawts and Hawts too)

Mostly, we have things being done because that way works the best for various reasons. ...But, there are always times when variations on a theme are wheeled back out.... only to fade away into obscurity again.... bit like fashion I suppose.

It was a good idea, but there are simpler ways to achieve the same result or better, thats why it is not widespread.

It was the thought that counted... nothing lost.

Oneday. just one day, you might get one first.... but gee, those old boys seem to have tested magnets and coils to death .




.........oztules
Village idiot...or... just another hack out of his depth
 
Dinges
Senior Member

Joined: 04/01/2008
Location: Albania
Posts: 510
Posted: 01:27am 05 Feb 2010
Copy link to clipboard 
Print this post

Don't worry, Greenbelt, we all re-invent the wheel sometimes. It happens to the best of us....

[quote=Oztules]I thin unless your investigating particle physics or similar..... it's all been done before.[/quote]
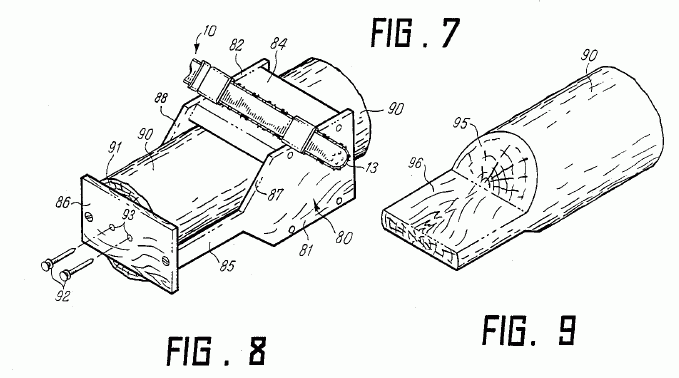
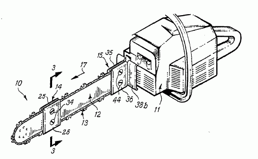
Indeed it has been.... Oztules, it is with some pleasure (mischievous pleasure!) that I'd like to show you US patent nr. 4858325, called 'chain saw and guide', from 1989..... Here's an extract:

"This invention relates in general to a hand held, portable self driven chain saw of the type used to cut wood. More particularly, the invention relates to a chain saw with a guide attachment mounted to the chain bar which extends beyond the saw chain and shield the saw chain so that the guide can engage a guiding surface as the unshielded portion of the saw chain cuts a work product.

[...]

Chain saws have been utilized for rough cutting purposes where the relatively unskilled operator can cut. [...] Although the above noted advantages of the chain saw make it a highly useful cutting tool in rough cut situations, the chain saw is not very useful by the average operator when very accurate cuts in a wood product must be made.

[...]

Briefly described, the present invention comprises a chain saw and guide which permits the chain saw operator to accurately use the chain saw when cutting wooden objects."

(Oh, Oztules, you can't possibly begin to imagine how much evil pleasure this post is giving me....)

I hereby present some visible material, rather than the dry legal text from above:


vs.




vs.




And a direct link to this invention from 20 years ago: http://www.google.com/patents?id=f1E3AAAAEBAJ&printsec=abstr act&zoom=4#v=onepage&q=&f=false


So there you have it Greenbelt... reinventing the wheel happens to the best of us! Nothing to be ashamed of.

Without joking this time: there's a wealth of knowledge in the patent databases, just waiting to be re-discovered and applied. A few years ago I did some searching on yaw- and pitching mechanisms. Got results on elliptical pitching (what we are using nowadays on our axial fluxes) that went back to around 1780, IIRC.

It's all there. Greenbelt, do a google patent search for 'vawt' or anything else that interests you, and be surprized about what you will find. You will get more ideas than you'd care for. And you'll see that there seems to be *very* little that hasn't been thought of before....

And w.r.t. to Oztules' chainsaw guide idea: often the guy that ends up in the history books is not the one that invented something, but the one that managed to apply it and spread the idea. And there's nothing wrong with that - on the contrary. If we humans had to invent everything we did from scratch, without being able to build upon the work of others who have gone before us, we'd still be using wooden sticks to poke in beehives to gather some honey....

They often say that 100 hours in the shack/shop will save one hour in the library....

Peter. (<-- walks back to the shop... thinking about how I never even RE-invented the wheel....)
Edited by Dinges 2010-02-06
 
GWatPE

Senior Member

Joined: 01/09/2006
Location: Australia
Posts: 2127
Posted: 01:40am 05 Feb 2010
Copy link to clipboard 
Print this post

I believe another purpose of the chainsaw in a guided fashion is with a LUCAS MILL. I had the stump of a tree converted to slabs, and a LUCAS MILL was used. The slabs make really good tables, and I have plans for some parquetry. Need a compound mitre saw first.

Gordon.

become more energy aware
 
Greenbelt

Guru

Joined: 11/01/2009
Location: United States
Posts: 566
Posted: 08:51am 05 Feb 2010
Copy link to clipboard 
Print this post

OZ,Dinges. Gordon,
Thanks for the kind words, I will probably survive. I have
previous experience also. The link below shows a system
that could power that new french air engine.
I built this system from tin cans and solder many years ago.1972
, Last Year I posted it on another web site and about two
months went by, I was looking on the net for info on Ram
pumps and found this. My system design was focused more on transportation . Well I didn,t have to build it to prove
it works. saved me bunches.
Power from nature
Time has proven that I am blind to the Obvious, some of the above may be True?
 
Bryan1

Guru

Joined: 22/02/2006
Location: Australia
Posts: 1876
Posted: 10:30am 05 Feb 2010
Copy link to clipboard 
Print this post

MMMMMMMMM while this thread is all about re-inventing the wheel... how about dynamic braking for wind turbines.

At work quite a few guys are interested in my motor conversions and I have said the thing to design is dynamic braking.

With the resource I have, well motors, scrap steel and a decent lathe, bery cheap winding wire and now a good source for the best neo mags, only a cad drawing away for any mag design.

The only thing needed is a dynamic braking concept to solve the over speeding problems.

While it's going to be a heap of head beating and trialling oneday I will spill the beans and make it open source.

Unless those conniving devils like Dr. Oztules and his frankin-Dinges do it before me....

Cheers Bryan
 
oztules

Guru

Joined: 26/07/2007
Location: Australia
Posts: 1686
Posted: 01:08am 06 Feb 2010
Copy link to clipboard 
Print this post

[quote](Oh, Oztules, you can't possibly begin to imagine how much evil pleasure this post is giving me....)[/quote]
Oh yes I can..... you forgot this bit..
That Edward A Miller was obviously a superstar, hero and all round good bloke to think of something like that
Sigh...I just can't believe the similarity....Just one more thing I have RE-invented.
Gee those old boys with chainsaws have done everything too

Greenbelt, we need a particle accelerator or we are never going to make it.

Now it's my turn to be evil...... Bryan, I don't have armature reactance that runs away.... I can brake without the fancy stuff... all hail the axfx

Use your Neo magnets for peaceful purposes and not those naughty brakes.... build your AxFx, and I guarantee the conversion will sit in the shed.....and you won't need a brake anyway.



..........otulesEdited by oztules 2010-02-07
Village idiot...or... just another hack out of his depth
 
Bryan1

Guru

Joined: 22/02/2006
Location: Australia
Posts: 1876
Posted: 02:49am 06 Feb 2010
Copy link to clipboard 
Print this post

  oztules said  

Now it's my turn to be evil...... Bryan, I don't have armature reactance that runs away.... I can brake without the fancy stuff... all hail the axfx

Use your Neo magnets for peaceful purposes and not those naughty brakes.... build your AxFx, and I guarantee the conversion will sit in the shed.....and you won't need a brake anyway.


So what is Dr. Oztules recommending here using those 16x13mm round N50 neo's in a 4x2 config which will workout to 64x32mm of mags for each in a 12 mag to a disk and 9 coils out of 14awg maybe 2 or 3 in hand. Aint it been said the rectangular config is what leads to burnouts???????

One confused Mutley now that evil Dr. Oztules has spoken and runs to hide behind a gum tree as for sure that evil sidekick frankin-dinges will chime in and confuse poor Mutley even further....... Edited by Bryan1 2010-02-07
 
Greenbelt

Guru

Joined: 11/01/2009
Location: United States
Posts: 566
Posted: 08:39am 06 Feb 2010
Copy link to clipboard 
Print this post

Bryan1;
sounds like a plan. maybe the government would be interested, In most countries the power's that be want to put a stop to all things. you could explain that oztules over on the island is running his HAWT with no brakes.
They would then do a surprise inspection ,Issue a cease
operation order, then quickly return to the round table,
pass a law, ALL WINDMILLS must have Brakes. and you're in business.

oz;
Greenbelt, we need a particle accelerator or we are never going to make it.
end quote,
You see I got this Idea,,
Particle accelerators need magnets, Bryan can get magnets real cheap, they also need many stepper coils < ,and of course the Eddy current collectors we will need to polarize the eggshell Ions ( Calcium )we could do this with ultra violet light but I have tested the EDDY CURRENT Collectors < over and over and they are more stable in high magnetic flux.
< some new items I just invented.
Bryan has lots of wire and also some barrell's to build the containment ring. and I'm sure if dinges will donate his - your, PC-PSU that would supply any kind of power we could possibly need.
A couple hours of work we could send a NEO MAG to the Moon, How about that for a particle accelerator ??.
When we receive the Nobel prize for outstanding achievement in particle science we can tell the Quantum
Mech's to indulge in graviton manipulation, Anti Gravity is needed much more than Anti matter, But who knows it may be the same thing ??



Time has proven that I am blind to the Obvious, some of the above may be True?
 
oztules

Guru

Joined: 26/07/2007
Location: Australia
Posts: 1686
Posted: 09:09am 06 Feb 2010
Copy link to clipboard 
Print this post

Errrr .... ahhhh ....I'll make the coffee while you just throw that thing together.... and I'll check with NASA for the target co-ordinates for the Neomagshot.

There's plenty of antimatter manufacturing going on in the upper atmosphere..... but it's spent as fast as it's made..... kinda reminds me of the first worlds economy.

We haven't found the higgs boson or the graviton yet.... so anti gravity appears to be a dead end study....but just think, if we find the antigraviton (even though it does not fit in with the current theory) with the Greenbelt-tincan accelerator we can rewrite the laws of the universe while were at it..... an maybe push Betz to the limit


looking more like my avatar every day....


...........oztulesEdited by oztules 2010-02-07
Village idiot...or... just another hack out of his depth
 
Greenbelt

Guru

Joined: 11/01/2009
Location: United States
Posts: 566
Posted: 06:09pm 06 Feb 2010
Copy link to clipboard 
Print this post

Back to windmills.

Time has proven that I am blind to the Obvious, some of the above may be True?
 
oztules

Guru

Joined: 26/07/2007
Location: Australia
Posts: 1686
Posted: 12:01am 07 Feb 2010
Copy link to clipboard 
Print this post

Bryan,
Personally I would offload those mags to someone who wanted that size and buy a new lot, as holding the group of little ones together while they bond to the plate will be problematic

It is not the "rectangularness" of the magnets that cause the 2"x1" magnet 10 footers to burn out, it is the fact that they are undersize magnet mass for that prop size. ..if the furling is not up to it, the blades can overpower the alternator and try to run away. Rather than run away, they tend to just keep producing more and more power at less efficiency.... and cook.

By using more magnet, we use less wire, and so it is much harder to push the stator into the red, as it's resistance is so much lower. For the change from 2x1 rectangular to 2x1/5 round, the power output is a good 4 times safer, as R will be less then half. Thats why we have not ever heard of a 2x1/2 round machine over heat... yet. They can easily over power a 10 foot blade set if the furling is even reasonable, rather than spot on.

I would not fancy using the 2x1 rectangular mags as a brake in 50 mph winds, but I know the 2x1/2 rounds stop it dead.

You could arrange those mags in circles, squares, or wedges to achieve the same kind of results. They need to be tight packed.... and that will be fun indeed.



.............oztules
Village idiot...or... just another hack out of his depth
 
Bryan1

Guru

Joined: 22/02/2006
Location: Australia
Posts: 1876
Posted: 10:26am 07 Feb 2010
Copy link to clipboard 
Print this post

  oztules said   Bryan,
Personally I would offload those mags to someone who wanted that size and buy a new lot, as holding the group of little ones together while they bond to the plate will be problematic

You could arrange those mags in circles, squares, or wedges to achieve the same kind of results. They need to be tight packed.... and that will be fun indeed.



Isn't it nice when a Mutley can prove our evil genius Dr.Oztules wrong Tonight I did a trial by placing a 50mm x5mm ring on a lump of 10mm plate. Then I placed the 7 magnets in the ring with the north polarity all facing up, the magnets stayed put in the ring so asfar as palcement goes it will not only be a heap easier but no squashed fingers between a couple of 2x1/2" n50 round neo's.

Ok what I'm planning to do is tig welding on a 50mm shroud 16.5mm thick for every magnet location. Then by using the above method simply place each magnet pole in the steel shroud with a thin coat of loctite super adhesive on the inside bottom of the shroud. Place each pole in then put a plastic spacer ontop then g-clamp the mags till the super glue is set. Then I'll pot the mags in a epoxy based plastic steel till a dome is formed ontop ensuring every cavity is filled. Then a quick face in the lathe to leave a 0.5mm land of plastic steel ontop then thats it all done.

No need to epoxy the whole disk and the magnets are fully sealed against moisture.

Sure using 7 off 16x13 N50 round neo's won't get the full strength of using a 2x1/2" but it won't be far away.

If this works out then the scare factor of placing large neo's is GONE.

This week I'll get a quote on some 8mm thick 360mm diameter disks and next payday get them. The steel shrouds i'll machine up at work and to ensure each one is spot on i'll spot face each location in my bridgeport.

I'll need to get another 5kg's of 14awg wire as I will be going 2 in hand so hopefully in the next month I can start work on it.

Cheers Mutly
 
GWatPE

Senior Member

Joined: 01/09/2006
Location: Australia
Posts: 2127
Posted: 11:01am 07 Feb 2010
Copy link to clipboard 
Print this post

Hi Bryan,

the shroud will effectively short some of the flux. The shroud should only be 3-4mm high, for 1/2" mags. Use a plastic shroud, and all will be OK. Won't be able to TIG weld to the plate though. Best to make into a bigger form, and place like the 50x12mm types.

I use approx 1.5kg of wire in my current stator config.

I will be back home in a week or so, and I can set up my coil testing unit again. This will confirm the small mags performance compared to the real deal.

Gordon.


become more energy aware
 
oztules

Guru

Joined: 26/07/2007
Location: Australia
Posts: 1686
Posted: 09:54pm 07 Feb 2010
Copy link to clipboard 
Print this post

Pleasing that you had such little difficulty placing them... although somehow it doesn't seem fair that you missed out on the "enjoyment" that others have experienced. It was bad enough chasing magnets about the place making the magnet blocks up for the seeley.

Don't weld anything to the plate if possible, as it will warp it.... and any warp means more airgap to compensate (been there done that).

When you cad the plate, perhaps get the blade fixing holes as well as the stub axle holes and the jacking holes cut at the same time. (you will be threading all the holes except the stud holes from the stub axle... they are clearance holes.... perhaps 1/2" unc all round. I used 1/2unc for the studs, and 12mm for the blade and jacking holes, and keep mixing up the stainless steel nuts... frustrating to say the least. They look too similar.

Sounds like Gordon may be able to give you some figures for those magnets. Hopefully they will come out near the 50x12 n45 solution.

If you have a rotary table for the mill, make up a template from plastic is a good idea.

Gordon is right about the shroud. Perhaps you could put a plastic film on the steel plate, and grease the shroud, and cast the magnets into it with epoxy. Then you can press them out as a solid 50 x 13mm block, and place then as normal using the plastic template.

That way you won't miss out on the excitement of placing bigger magnets.

Don't forget to coat the steel disk with epoxy paint or epoxy to keep the nickel magnets electrically isolated from the steel.



.............oztulesEdited by oztules 2010-02-09
Village idiot...or... just another hack out of his depth
 
Print this page


To reply to this topic, you need to log in.

The Back Shed's forum code is written, and hosted, in Australia.
© JAQ Software 2026